Qingdao Ruichen Sızdırmazlık Teknolojisi Co, Ltd
Qingdao Ruichen Sızdırmazlık Teknolojisi Co, Ltd
Ürünler
X

Döner Miller için Labirent Tipi Bileşik Salmastra

Döner Şaftlar için Labirent Tipi Bileşik Salmastra, Ruichen Seals'ın bir ürünüdür. PTFE malzeme ile doldurulmuş dişli bir sızdırmazlık halkası ve bir O-ringden oluşur. Hidrolik ve pnömatik pistonlu ve dönme hareketlerinin tek yönlü sızdırmazlığı için uygundur. Uzun servis ömrüne, düşük sürtünmeye, iyi sızdırmazlık performansına ve küçük yapısal alana sahiptir ve ayrıca hidrolik sızdırmazlık için de kullanılabilir.

Ruichen, RC2051-B (standart tip) ve RC2051-G'de (yüksek hızlı tip) mevcut olan Döner Şaftlar için Labirent Tipi Bileşik Salmastra üretmektedir. RC2051'in benzersiz dudak tasarımı, pnömatik pistonlu veya döner sızdırmazlık için kullanıldığında bile mükemmel sızdırmazlık performansı ve son derece düşük sürtünme direnci sağlar.

 

Geçerli çalışma koşulları

Basınç/MPa

Sıcaklık / °C

Referans Pv değeri /Mpa.m/s

Referans hızı /m/s

Orta

≤70 (Standart Model)

-35~+100 (NBR O-halkası)

≤10

<2

Hidrolik yağı, emülsiyon, su, gaz vb.

≤30 (Yüksek Hızlı Model)

-20~+200 (O-ring FKM)

<6

Malzeme seçimi

1. Mevcut O-halka malzemeleri: R01 Nitril Bütadien Kauçuk (NBR), R02 Flororubber (FKM), vb.

2. Sızdırmazlık halkası malzemesi: Standart malzeme PTFE4, diğer isteğe bağlı malzemeler arasında PTFE1, PTFE2, PTFE3 ve PTFE5 bulunur.

 

Neden Ruichen'i seçmelisiniz?

Ruichen size sadece ürün sağlamakla kalmıyor, aynı zamanda ürünlerden teknolojiye kadar geniş bir yelpazede profesyonel destek de sağlıyor. Profesyonel seçim tavsiyesi, arıza analizi ve teknik Soru-Cevap Bunlar sizin için sağlayabileceklerimizdir. Sızdırmazlık sorunlarıyla karşılaşırsanız, metalografik analiz, spektral analiz ve diğer yöntemlerle arızanın temel nedenini bulmanıza yardımcı olacak teknik kaynakları hızlı bir şekilde organize edeceğiz. Yardımımız bununla sınırlı kalmayacak, aynı zamanda sizin için etkili iyileştirme programları da önerecektir.

 

Sipariş Örneği

Sipariş Modeli: RC2051—80x91,7x7,6—PTFE3—R01

Modeli: dxDxL-

Malzeme Kodu:

 

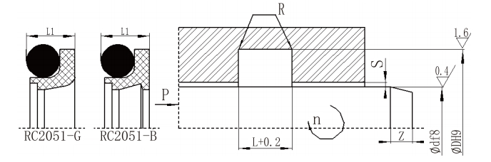
Yapısal diyagram

Özellikler ve parametreler tablosu (parametre aralığındaki tüm özellikler mevcuttur)

d f8

Standart tip

RC2051

d f8

Hafif yük türü RC2051-Q

d f8

Ağır yük tipi

RC2051-Z

 

DH9

 

L+⁰.2

 

LI

 

Rmaks

Sm

 

Znin

 

Yapmak

<10 MPa

<20MPa

<40MPa

.

5~15,9

--

d+4.5

3.1

2.8

0.3

0.3

0.2

0.15

3

1.8

5~15,9

16~38,9

---

d+6.3

4.0

3.7

0.4

0.4

0.25

0.15

4

2.65

16~38,9

39~107,9

5~15,9

d+8.2

5.2

4.7

0.4

0.4

0.25

0.2

5

3.55

39~107,9

108~670,9

16~38,9

d+11.7

7.6

7.1

0.5

0.5

0.3

0.2

7

5.30

108~670,9

671~999

39~107,9

d+15.5

9.6

8.9

0.6

0.6

0.35

0.25

10

7.00

671~999

1000-1599

108~670,9

d+19.4

12.1

11.3

0.7

0.7

0.5

0.3

12

8.60

1000-1599

≥1600

671~999

d+22

14.8

13.5

0.8

0.8

0.6

0.4

15

10.0

≥1600

-

1000-1599

d+26

17.8

16.3

1.0

1.0

0.7

0.6

20

12.0

Not: 1. Şaft çapı ≤ 30 mm için açık oluklar tavsiye edilir.

2. Dönen milin yüzey sertliği HRC > 58 olmalıdır.

 

Sıcak Etiketler: Döner Miller için Labirent Tipi Bileşik Salmastra
Talep Gönder
İletişim bilgileri
Rekabetçi fiyatlar, teknik destek ve hızlı yanıtlar alın. Özelleştirilmiş sızdırmazlık çözümleri için spesifikasyonlarınızı Ruichen'e gönderin. Ücretsiz örnekler mevcuttur.
X
Size daha iyi bir gezinme deneyimi sunmak, site trafiğini analiz etmek ve içeriği kişiselleştirmek için çerezleri kullanıyoruz. Bu siteyi kullanarak çerez kullanımımızı kabul etmiş olursunuz. Gizlilik Politikası
Reddetmek Kabul etmek