Ruichen Seals'ın temel hidrolik mühürleri esas olarak her biri kendi avantajlarına sahip çeşitli contalar içerir. O-ringler, düşük üretim maliyetleri ve uygun kullanımları nedeniyle çeşitli dinamik ve statik sızdırmazlık durumlarında yaygın olarak kullanılmaktadır. Çoğu ülke, Amerikan standardı (AS568), Japon standardı (JISB2401) ve uluslararası standardı (ISO 3601/1) daha yaygın olduğu O-RING'ler için bir dizi ürün standardı formüle etmiştir. Ulusal standartlar GB3452.1 ve GB1235'tir.
Yıldız şeklindeki sızdırmazlık halkası, X şeklinde şeklindeki bir şekle sahip dört dipli bir contadır, bu nedenle X şeklinde bir halka da denir. O-ring'e dayanan bir gelişme ve geliştirme. Kesitsel boyutları, ABD'nin 568A standardı olarak O-ringiyle aynıdır ve temel olarak O-ring kullanımının yerini alabilir.
Yıldız Yüzüklerinin Avantajları
O-halkalarla karşılaştırıldığında, yıldız halkaları daha az sürtünme direncine ve daha az başlangıç direncine sahiptir, çünkü sızdırmazlık dudakları arasında bir yağlama boşluğu oluştururlar. Flaş kenarı enine kesitin içbükey kısmında bulunduğundan, sızdırmazlık etkisi daha iyidir. Düzesel olmayan kesit, pistonlama hareketi sırasında yuvarlanan fenomeni etkili bir şekilde önler.
Star Ring çalışma mekanizması
Yıldız halkası, kendi kendine sıkıcı çift etkili bir sızdırmazlık elemanıdır. Radyal ve eksenel kuvvetler sistemin basıncına bağlıdır. Basınç arttıkça, yıldız halkasının sıkıştırma deformasyonu artacak ve toplam sızdırmazlık kuvveti artacak, böylece güvenilir bir conta oluşturacaktır.
Yıldız şeklindeki bir mühür halkası nasıl seçilir
Milin ve deliğin çapı biliniyorsa, aşağıdaki kriterlere göre uygun yıldız şeklindeki conta halkasını seçin:
1. Statik sızdırmazlık veya pistonlu doğrusal hareket: (1) Delik Sızdırması: Yıldız şekilli halkanın iç çapı olukla uyumlu olmalı veya oluk alt çapının yaklaşık% 2'sinden az olmalıdır. Çünkü sıkıştırma öncesi sıkıştırma öncesi kuvvet, yıldız şeklindeki conta halkasının bükülmesini ve yuvarlanmasını etkili bir şekilde önleyebilir. (2) Mil Sızdırması: Yıldız şekilli halkanın iç çapı, şaftın dış çapına eşit veya uygun şekilde daha büyük olmalıdır. Sonuç olarak, mühür halkasının kurulumu ve daha uzun bir hizmet ömrüne sahip olması daha kolay olacaktır.
2. Döner Sızdırmazlık: Yıldız şeklindeki halkanın iç çapı, sızdırmazlık sağladığı şaftın çapından yaklaşık% 2 ~ 5 daha büyük olmalıdır. Çünkü conta halkası dönen bir hareketle kullanıldığında sürtünme ve ısı üretecektir ve ısıtıldığında kauçuk büzülür (joule etkisi). Bu nedenle, conta halkasının yağlanabilmesini ve güvenilir bir şekilde çalışabilmesini sağlamak için, şaft çapından daha büyük bir iç çapı olan yıldız şekilli bir halka seçilmelidir. Genellikle, daha küçük bir kesitli bir sızdırmazlık halkası statik sızdırmazlık ihtiyaçlarını karşılayabilir. Aksine, dinamik contayı karşılamak için daha büyük bir kesitli bir sızdırmazlık halkası seçilmelidir. Yüksek basınç veya büyük boşluklar durumunda, daha yüksek sertliğe sahip kauçuk bir malzeme seçilmelidir. En iyi yol, yüksek basınçlı ekstrüzyon hasarını önlemek için bir PTFE tutma halkası eklemektir.
Kaplanmış O-ring, kauçuğun esnekliğini ve sızdırmazlığını teflonun kimyasal direnci ile birleştirir. Bir silikon veya florubber iç çekirdek ve nispeten ince bir Teflon FEP veya Teflon PFA dış kaplamadan oluşur.
Malzeme: Teflon Fep ve Teflon PFA esasen benzerdir, ancak Teflon PFA, Teflon FEP'den daha yüksek sıcaklık direncine sahiptir. Uygulanabilir sıcaklık aralığı Teflon Fep Kabuğu: -60 ℃ ~ 205 ℃ 260 ℃ 'da kısa bir süre için kullanılabilir Teflon PFA kabuğu: -60 ℃ ~ 260 ℃ 300 ℃' da kısa bir süre için kullanılabilir:
1. Neredeyse tüm kimyasal ortamlar için uygun olağanüstü kimyasal direnç
2. Geniş sıcaklık aralığı
3. İyi sıkıştırma direnci
4.
5.
6. Yüksek basınç direnci
7. Mükemmel sızdırmazlık dayanıklılığı ve uzun hizmet ömrü
Uygulama: Pompalar ve vanalar, reaksiyon kapları, mekanik contalar, filtreler, basınç kapları, ısı eşanjörleri, kazanlar, boru hattı flanşları, gaz kompresörleri, vb.
Uygulama Endüstrileri: Kimya Endüstrisi, Uçak Üretimi, İlaç Endüstrisi, Petrol ve Kimyasal Taşıma ve Rafinasyon, Film Endüstrisi, Soğutma Mühendisliği, Gıda İşleme Endüstrisi, Kağıt Yapımı Endüstrisi, Boya Üretimi, Boya Püskürtme, vb.
Saplama halkaları için kurulum talimatları
1. Sızdırmazlık halkalarının kurulduğu veya geçtiği parçalar pürüzsüz, çapak, oluklar ve keskin köşeler içermez. İç deliğin pürüzlülüğü 1.6μ'a ulaşmalı ve şaftın pürüzlülüğü 0.8um'a ulaşmalıdır.
2. Sızdırmazlık halkasının yüzeyini ve temas halinde ilgili parçaları yağlamak için temiz hafif yağ veya gres uygulayın.
3. Sızdırmazlık halkasını şafta takmak zorsa, genişletmek için birkaç dakika sıcak suya daldırın. Bu yumuşatılmış ve genişletilmiş O-ring'in kurulması daha kolaydır. O-ring'i sıcakken takın ve soğutulduktan sonra boyutu orijinal boyutuna dönecektir.
4. O-ring'i çok şiddetli bir şekilde bükmeyin, aksi takdirde Teflon'da kırışıklıklara neden olur ve kullanımını etkiler.
Kaplanmış O-ring'in önerilen sıkıştırılması aşağıdaki gibidir:
Statik Sızdırmazlık Durumu:%15-%20
Dinamik Sızdırmazlık Durumu:%10-12
Pnömatik Durum:%7-%8
Gerçek sıkıştırma, çalışma koşullarını, özellikle sızdırmazlık çalışma basıncını ve diğer faktörleri dikkate almalıdır.
Ürün özellikleri ve uygulamaları:
| O-Ring Performans Parametre Tablosu |
|
|
|
|
Statik mühür | Dinamik mühür |
| Çalışma baskısı | Halka tutmadan, 20MPa maks. Tutma halkası, 40 MPa Maks, Özel Tutma Halkası 200MPA maks. | Halka tutmadan, 5MPA maks. Tutma halkası ile daha yüksek basınç |
| Hız | 0,5m/s maks. 2m/s maks. | |
| Sıcaklık | Genel Kullanım: -30 ~+110, Özel Kauçuk: -60 ~+250, Dönme: -30 ~+80 | |
| Orta | Materyaller bölümüne bakın | |
| Standart | O-ring kesit çapı w |
|
|||||
| Amerikan Standardı AS 568 İngiliz Standart BS 1516 | 1.78 | 2.62 | 3.52 | 5.33 | 6.99 | - | |
| Japon Standardı IT B2401 | 1.9 | 2.4 | 3.1 | 3.5 | 5.7 | 8.4 | |
| Uluslararası Standart ISO 3601/1 Alman Standart Din 3771/1 Çin Standardı CB 3452.1 | 1.8 | 2.65 | 3.55 | 5.30 | 7.00 | - | |
| Tercih edilen metrik boyutlar | 1.0 | 1.5 | 2.0 | 2.5 | 3.0 | 3.5 | |
| 4.0 | 4.5 | 5.0 | 5.5 | 6.0 | 7.0 | ||
| 8.0 | 10.0 | 12.0 |
|
|
|
||
| Amerikan Standardı AS 568 (900 Serisi) | 1.02 | 1.42 | 1.63 | 1.83 | 1.98 | 2.08 | |
| 2.21 | 2.46 | 2.95 | 3.00 |
|
|
|
|
| Yıldız halkalarının uygulama aralığı çok geniştir. Sıcaklık, basınç ve ortama göre doğru malzemeyi seçin. Yıldız halkasını belirli bir uygulamaya uyarlamak için, tüm çalışma parametreleri arasındaki karşılıklı kısıtlamalar dikkate alınmalıdır. Uygulama aralığı belirlenirken, tepe sıcaklığı, sürekli çalışma sıcaklığı ve çalışma döngüsü dikkate alınmalıdır. Dönen uygulamalarda, sürtünme ısının neden olduğu sıcaklık artışı da dikkate alınmalıdır. | |||||
| Teknik parametreler | Dinamik mühür | Statik mühür |
|
||
| Pistonlu hareket | Dönme hareketi |
|
|||
| Çalışma baskısı (MPA) | Tutma halkasıyla | 30 | 15 | 40 |
|
| Halkayı tutmadan | 5 | - | 5 |
|
|
| Hız (m/s) | 0.5 | 2.0 | - |
|
|
| Sıcaklık (℃) | Genel durumlar: -30 ℃ ~+110 ℃ |
|
|||
| Özel Malzemeler: -60 ℃ ~+200 ℃ |
|
||||
| Dönme Durumları: -30 ℃ ~+80 ℃ |
|
||||
Yıldız Yüzük Malzemesi:
Malzeme genellikle Shaw A70 nitril kauçuk NBR'dir.
Kaplamalı O-Ring:
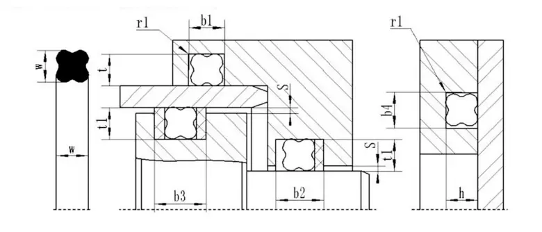
Kapsüllenmiş o-ringin oluğunun şematik diyagramı
Kapsüllenmiş O-Ring'in oluğunun boyut tablosu (önerilir)
| Tel çapı | A (mm) | B (mm) | ||
| Statik mühür | Dinamik mühür | Pnömatik conta | ||
| 1.78 | 2.36/2.49 | 1.42/1.52 | 1.55/1.60 | 1.63/1.65 |
| 2.62 | 3.56/3.68 | 2.08/2.21 | 2.29/2.36 | 2.39/2.44 |
| 3.53 | 4.75/4.88 | 2.82/3.00 | 3.10/3.18 | 3.22/3.28 |
| 5.33 | 7.14/7.26 | 4.27/4.52 | 4.67/4.80 | 4.90/4.95 |
| 6.99 | 9.63/9.65 | 5.59/5.89 | 6.15/6.27 | 6.43/6.48 |
Ruichen Seal PTFE Mühür Kurulum Kılavuzu
Ⅰ. Kurulum kılavuzu
1. Conta, basınç yönüne bakacak şekilde önceden yüklenmiş tarafa monte edilmelidir.
2. Silindir gövdesi ve piston çubuğu, şirketimizin örneklerinin gereksinimlerini karşılayan itme chamers ile yapılmalıdır.
3. Keskin kenarlar çapak içermemeli ve yuvarlak veya pahalı olmalıdır.
4.
5. Herhangi bir toz, enkaz veya diğer yabancı parçacıklar dikkatlice çıkarılmalıdır.
6 Keskin kenarları olan araçlar kullanılmamalıdır.
7. PTFE sızdırmazlık halkalarının ısıtılmış yağ veya suda genişlemesi daha kolaydır (yaklaşık 80 ~ 120 derece) ve orijinal şekillerine geri yüklenmesi kolaydır.
8. Conta dudağının yağ basınç deliğinden geçmesi gerekiyorsa, deliğin pahının sızdırmazlık dudağına zarar vermesini önlemek için dudağı hafifçe itmek için plastik bir çubuk kullanılmalıdır. Silindirin delikleri Chaped olmalıdır. (Şekil 3)
Ⅱ. Kurulum yöntemi
Açık (bölünmüş) oluklar aletler olmadan takılabilir.
Kapalı Groove Piston Çubuk Contalarının Montajı (Şekil 1)
1. Tüm sızdırmazlık substratlarını, contaları ve kurulum araçlarını temizleyin ve yağlayın.
2. Kauçuk halkayı oluğa yerleştirin (bükmemeye dikkat edin).
3. PTFE conta halkasını sivri bir viraj oluşturmadan böbrek şekline sıkıştırın, sıkıştırılmış PTFE conta halkasını oluğa yerleştirin ve hafifçe elle düzleştirin.
4. İyileşme mandrelini contaya itin ve hafifçe mandrel çevirin. 1 dakika bekletin ve mandreli çıkarın. Kurulum tamamlandı.
Kapalı oluklarda piston contalarının montajı (Şekil 2)
1. Tüm sızdırmazlık substratlarını, contaları ve kurulum araçlarını temizleyin ve yağlayın.
2. Kauçuk halkayı oluğa yerleştirin (bükmemeye dikkat edin).
3. PTFE sızdırmazlık halkasını kılavuz manşon üzerine itin ve sızdırmazlık halkasını gerdirin.
4. Gerilmiş sızdırmazlık halkasını piston oluğuna itin.
5. Düzeltme manşonunu sızdırmazlık halkasına itin ve düzeltme manşonunu aynı anda döndürün. Düzeltme manşonunu 1 dakika bıraktıktan sonra çıkarın ve kurulum tamamlandı.
Not: 1. Şirketimizin örneğinde belirtilen ürün kapalı bir oluğa kurulamazsa, ancak açık bir oluk için uygun değilse lütfen şirketimize danışın.
2. PTFE contalarının yukarıdaki kurulumu tüm PTFE contaları için geçerli değildir. Gerekirse lütfen şirketimize danışın.



























Adres
No.1 Ruichen Yolu, Dongliuting Endüstri Parkı, Chengyang Bölgesi, Qingdao Şehri, Shandong Eyaleti, Çin
tel
e-posta