Tutma halkası, sızdırmazlık halkasının basınç etkisi altında düşük basınçlı taraftaki boşluğa sıkılmasını önlemek için O-ring veya yıldız halkası ile birlikte kullanılır. Basınç artmaya devam ettikçe, sızdırmazlık halkası "ekstrüzyon" nedeniyle hasar görür ve sonunda mühürlenemez. Bir tutma halkası kullanılırsa, sızdırmazlık halkasının "ekstrüzyonu" önlenebilir. Bu nedenle, tutma halkası sızdırmazlık halkasına bir ektir. Bir mühür değildir, ancak sızdırmazlık halkasının çalışma basıncı aralığını arttırır.
Tutma halkası, "ekstrüzyon" olmasını önlemek, O-ringini etkili bir şekilde korumak, servis ömrünü arttırmak ve daha büyük bir sızdırmazlık boşluğuna izin vermek için O-ring ile birlikte kullanılır, böylece işleme maliyetlerini azaltmaktadır.
Ürün özellikleri ve uygulamaları:
Halka formu ve yapı tipi tutma
Teknik veriler
Çalışma Basıncı: Statik conta yaklaşık 200MPa'ya ulaşabilir (tutma halkasının malzeme ve conta tipine bağlı olarak), pistonlu conta yaklaşık 40MPa'ya ulaşabilir. Salıncak/yavaş hızlı dönüş yaklaşık 15MPa'ya ulaşabilir.
Hız: Pistonlama ve dönüş yaklaşık 2m/s'ye ulaşabilir (malzemeye bağlı olarak).
Sipariş Standartları
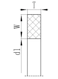
(1) T01 Serisi tutma halkaları iç çap D1, genişlik W ve T kalınlığından oluşur.
Örnek: T01-00356 D1: 3.56*W: 1.35*t: 1.23
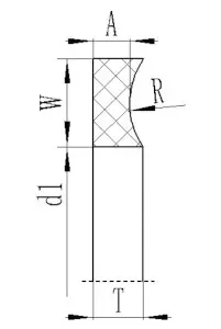
(2) T02 Serisi tutma halkaları, iç çap D1, W genişliği W ve A ve T kalınlığından oluşur.
Örnek: T02-027 D1: 33.78*W: 1.35*A: 1.14*T: 1.24



Adres
No.1 Ruichen Yolu, Dongliuting Endüstri Parkı, Chengyang Bölgesi, Qingdao Şehri, Shandong Eyaleti, Çin
tel
e-posta