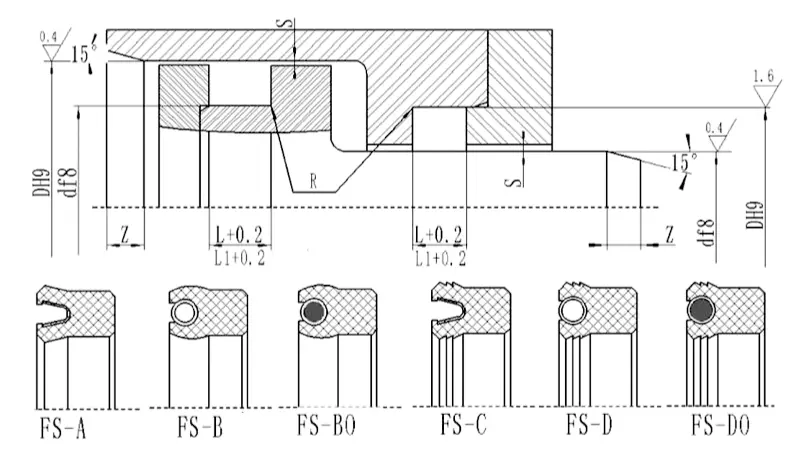
FS evrensel yay enerjik mühürümüz, çeşitli endüstriyel senaryolar için uygun olan simetrik yapıya ve evrensel şaft deliğine sahip şaft deliği için yüksek performanslı bir evrensel yay enerjik mühürdür. Bu ürün serisi, bir tip, B Tipi, BO Tipi, C Tipi, D Tip ve DO Tipine ayrılmıştır. Bunlar arasında, BO tipi ve DO tipi, mükemmel ortam direncine sahip yüksek fonksiyonlu plastik ve kaplamalı O-ring kombinasyonunu benimser; C Tip, D Tip ve DO Tipi, özellikle 40MPA'yı aşan basınçla yüksek basınçlı çalışma koşulları için uygun olan sızdırmazlık kabiliyetini daha da geliştirmek için dişli dudak yapısını benimser.
FS Universal Spring Enerjied Seal, çeşitli sızdırmazlık halka malzemelerini (PTFE, UPE, PK, vb.) Ve paslanmaz çelik yayları (O şeklinde veya V şeklinde isteğe bağlı) destekler ve farklı ortam ve çalışma koşullarında mükemmel performans gösterebilir. Şaft deliğinin evrensel tasarımı, seçim ve kurulum sürecini basitleştirir ve kimyasal, petrol, enerji vb. Taraflarında yüksek basınçlı hidrolik sistemlerde, pnömatik ekipman ve özel ortam sızdırmazlıklarında yaygın olarak kullanılır. Şaft deliği için evrensel yay enerjik conta hakkında daha fazla bilgi edinmek istiyorsanız, herhangi bir zamanda ruichen contası ile temas edebilirsiniz.
Ürün özellikleri ve uygulamaları:
Geçerli çalışma koşulları (sınır değerleri aynı anda görünmemelidir)
| Basınç mpa | Hız M/S | Sıcaklık ℃ | Orta | |
| <40, uygulanabilir oluk genişliği l > 40MPA, lütfen oluk genişliği l1 uygulayın | <10 | Çünkü/ -35 ~+250 | Diğer -200 ~+250 | Tüm sıvılar, kimyasallar, gazlar |
Malzeme seçimi
1. Bo, Elastomer yapın: Kaplamalı O-Ring.
2. Sızdırmazlık Halkası Malzemesi: PTFE1, PTFE2, PTFE3, PTFE4, UPE, PK1, PK2, vb.
3 Paslanmaz Çelik Yaylar, O şeklinde yaylar ve V şeklinde yaylar seçebilir.
Sipariş örneği
FS-A-40*46*4.7-PTFE4 D*D*L A-Tip Pan Contası, Sızdırmazlık Halkası Malzemesi PTFE4,
FS-BO-40*46*4.7-PTFE4, D*D*L BO tipi Pan Contası, Sızdırmazlık Halkası Malzemesi PTFE4'tür, O-Ring kaplamalı
Özellikler (parametre aralığındaki tüm boyutlar mevcuttur)
| d | D | L+0.2 | L1+0.2(Basınç> 40MPA için geçerlidir) | Radyal temizleme Smax | Pah uzunluğu Zimin | Rmax | |
| <20mpa | <40mpa | ||||||
| 3 ~ 10 | d+3 | 2.5 | 3.9 | 0.08 | 0.05 | L | 0.4 |
| 10 ~ 22 | d+4 | 3.2 | 4.4 | 0.10 | 0.07 | 0.4 | |
| 22 ~ 50 | d+6 | 4.7 | 6.0 | 0.15 | 0.08 | 0.6 | |
| 48 ~ 150 | d+10 | 7.5 | 9.0 | 0.20 | 0.10 | 0.8 | |
| 150 ~ 400 | d+15 | 11 | 13 | 0.25 | 0.12 | 0.8 | |
Not: Gerekli özellikler bu tabloda listelenmemiştir. Lütfen bizimle iletişime geçin.
Maksimum 1600 mm ile ürünler tedarik edebiliriz.



































Adres
No.1 Ruichen Yolu, Dongliuting Endüstri Parkı, Chengyang Bölgesi, Qingdao Şehri, Shandong Eyaleti, Çin
tel
e-posta