|
Basınç/MPa |
Sıcaklık / °C |
Hız /m/s |
Orta |
|
≤40 |
-35~+100 (eşleşen NBR O-halkalarıyla) |
≤2 |
Hidrolik yağı, emülsiyon, su, gaz vb. |
-20~+200 (eşleşen O-halkalar FKM ile) |
1. Uygun O-halka malzemeleri şunları içerir: R01 Nitril Bütadien Kauçuk (NBR), R02 Flororubber (FKM), vb.
2. Sızdırmazlık halkası malzemeleri: Standart malzemeler PTFE3 ve PTFE4; diğer isteğe bağlı malzemeler arasında PTFE1, PTFE2 ve PTFE5 bulunur.
Ruichen, hammaddelerin başlangıcından itibaren bağımsız araştırma, geliştirme ve üretim gerçekleştirerek tüm ürün zincirinin kontrolünü gerçekleştirmiştir.
1. Mühendislik plastikleri ve kompozit malzemeleri: Politetrafloroetileni (PTFE), karıştırma, sinterleme, kalıplama, her türlü doldurulmuş modifiye kompozit malzeme tüpü ve çubuğunun bağımsız üretimi ve daha sonra contalara hassas şekilde işlenmesinden çekirdek olarak alıyoruz. Bu, malzeme özelliklerinin stabilitesini ve özelleştirilebilirliğini sağlar.
2. Yüksek performanslı poliüretan elastomer: Ön polimer dökümden başlıyoruz, bağımsız olarak yüksek kaliteli poliüretan boru ve çubuk malzemeleri üretiyoruz ve bunları aşınma direnci, basınç direnci ve hidroliz direnci açısından olağanüstü olan çeşitli conta türlerinde işliyoruz.
Sipariş Örneği
Sipariş Modeli RC2054—80×69×4.2—PTFE3—R01 Model-D*d*L- Malzeme Kodu Sipariş Modeli RCX18—80×69x4.2—HPU Model-D*d*L- Malzeme Kodu
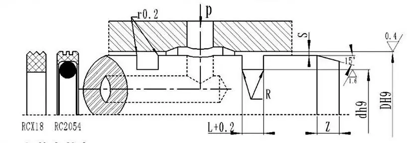
Özellikler ve parametreler tablosu (parametre aralığındaki tüm özellikler mevcuttur)
|
Diyafram aralığı DH9 |
Hendek çapı dh9 |
Hendek genişliği L+0,2 |
Radyal boşluk Smax |
Yuvarlatılmış köşeler Rmaks |
Pah Zmin |
|
|
0~10Mpa |
10~20Mpa |
|||||
|
8~39 |
D-4.9 |
2.2 |
0.15 |
0.1 |
0.4 |
2 |
|
40~79 |
D-7.5 |
3.2 |
0.2 |
0.15 |
0.6 |
3 |
|
80~132 |
D-11.0 |
4.2 |
0.25 |
0.2 |
1.0 |
4 |
|
133~329 |
D-15.5 |
6.3 |
0.3 |
0.25 |
1.3 |
5 |
|
330~669 |
D-21.0 |
8.1 |
0.3 |
0.25 |
1.8 |
7 |
|
670~1500 |
D-28.0 |
9.5 |
0.45 |
0.3 |
2.0 |
8 |
|
D |
d |
L |
D |
d |
L |
D |
d |
L |
D |
d |
L |
|
8 |
3.1 |
2.2 |
50 |
42.5 |
3.2 |
170 |
154.5 |
6.3 |
380 |
359.0 |
8.1 |
|
10 |
5.1 |
2.2 |
55 |
47.5 |
3.2 |
180 |
164.5 |
6.3 |
390 |
369.0 |
8.1 |
|
12 |
7.1 |
2.2 |
60 |
52.5 |
3.2 |
190 |
174.5 |
6.3 |
400 |
379.0 |
8.1 |
|
14 |
9.1 |
2.2 |
63 |
55.5 |
3.2 |
200 |
184.5 |
6.3 |
420 |
399.0 |
8.1 |
|
15 |
10.1 |
2.2 |
65 |
57.5 |
3.2 |
210 |
194.5 |
6.3 |
450 |
429.0 |
8.1 |
|
16 |
11.1 |
2.2 |
70 |
62.5 |
3.2 |
220 |
204.5 |
6.3 |
480 |
459.0 |
8.1 |
|
18 |
13.1 |
2.2 |
75 |
67.5 |
3.2 |
230 |
214.5 |
6.3 |
500 |
479.0 |
8.1 |
|
20 |
15.1 |
2.2 |
80 |
69.0 |
4.2 |
240 |
224.5 |
6.3 |
520 |
499.0 |
8.1 |
|
22 |
17.1 |
2.2 |
85 |
74.0 |
4.2 |
250 |
234.5 |
6.3 |
550 |
529.0 |
8.1 |
|
24 |
19.1 |
2.2 |
90 |
79.0 |
4.2 |
260 |
244.5 |
6.3 |
600 |
579.0 |
8.1 |
|
25 |
20.1 |
2.2 |
95 |
84.0 |
4.2 |
270 |
254.5 |
6.3 |
630 |
609.0 |
8.1 |
|
28 |
23.1 |
2.2 |
100 |
89.0 |
4.2 |
280 |
264.5 |
6.3 |
650 |
629.0 |
8.1 |
|
30 |
25.1 |
2.2 |
105 |
94.0 |
4.2 |
290 |
274.5 |
6.3 |
670 |
642.0 |
9.5 |
|
32 |
27.1 |
2.2 |
110 |
99.0 |
4.2 |
300 |
284.5 |
6.3 |
700 |
672.0 |
9.5 |
|
35 |
30.1 |
2.2 |
115 |
104.0 |
4.2 |
310 |
294.5 |
6.3 |
750 |
722.0 |
9.5 |
|
36 |
31.1 |
2.2 |
120 |
109.0 |
4.2 |
320 |
304.5 |
6.3 |
800 |
772.0 |
9.5 |
|
38 |
33.1 |
2.2 |
125 |
114.0 |
4.2 |
330 |
309.0 |
8.1 |
1000 |
972.0 |
9.5 |
|
40 |
32.5 |
3.2 |
130 |
119.0 |
4.2 |
340 |
319.0 |
8.1 |
|
|
|
|
42 |
34.5 |
3.2 |
140 |
124.5 |
6.3 |
350 |
329.0 |
8.1 |
|
|
|
|
45 |
37.5 |
3.2 |
150 |
134.5 |
6.3 |
360 |
339.0 |
8.1 |
|
|
|
|
48 |
40.5 |
3.2 |
160 |
144.5 |
6.3 |
370 |
349.0 |
8.1 |
|
|
|
Not: Gerekli özellikler burada listelenmemiştir; lütfen firmamızla iletişime geçin. Maksimum çapı 2800mm olan ürünler sunuyoruz.



Adres
No.1 Ruichen Yolu, Dongliuting Endüstri Parkı, Chengyang Bölgesi, Qingdao Şehri, Shandong Eyaleti, Çin
tel
e-posta